一、防火墙分类
1)防火墙逻辑分类
从逻辑上讲,防火墙可以大体分为主机防火墙和网络防火墙:
- 主机防火墙:针对于单个主机进行防护。
- 网络防火墙:往往处于网络入口或边缘,针对于网络入口进行防护,服务于防火墙背后的本地局域网。
网络防火墙和主机防火墙并不冲突,可以理解为,网络防火墙主外(集体), 主机防火墙主内(个人)。
1)防火墙物理分类
从物理上讲,防火墙可以分为硬件防火墙和软件防火墙:
- 硬件防火墙:在硬件级别实现部分防火墙功能,另一部分功能基于软件实现,性能高,成本高。
- 软件防火墙:应用软件处理逻辑运行于通用硬件平台之上的防火墙,性能低,成本低。
【温馨提示】iptables实则不是真正的防火墙,我们可以把它理解成一个客户端代理,用户通过iptables这个代理,将用户的安全设定执行到对应的”安全框架”中,这个”安全框架”才是真正的防火墙,这个框架的名字叫netfilter,netfilter位于内核空间。
二、iptables链表
1)iptables四表
- filter表:负责过滤功能,防火墙;内核模块:iptables_filter
- nat表: network address translation,网络地址转换功能;内核模块:iptable_nat
- mangle表:拆解报文,做出修改,并重新封装 的功能;iptable_mangle
- raw表: 关闭nat表上启用的连接追踪机制;iptable_raw
2)iptables五链
- PREROUTING:PREROUTING的规则可以存在于:raw表,mangle表,nat表。
- INPUT:INPUT的规则可以存在于:mangle表,filter表,(centos7中还有nat表,centos6中没有)。
- FORWARD:FORWARD的规则可以存在于:mangle表,filter表。
- OUTPUT:OUTPUT的规则可以存在于:raw表,mangle表,nat表,filter表。
- POSTROUTING:POSTROUTING的规则可以存在于:mangle表,nat表。
三、iptables流程关系图
1)iptables精简图

2)iptables详细图

3)iptables表链关系图

四、iptables处理动作(-j)
处理动作在iptables中被称为target(这样说并不准确,我们暂且这样称呼),动作也可以分为基本动作和扩展动作。
此处列出一些常用的动作,之后的文章会对它们进行详细的示例与总结:
- ACCEPT:允许数据包通过。
- DROP:直接丢弃数据包,不给任何回应信息,这时候客户端会感觉自己的请求泥牛入海了,过了超时时间才会有反应。
- REJECT:拒绝数据包通过,必要时会给数据发送端一个响应的信息,客户端刚请求就会收到拒绝的信息。
- SNAT:源地址转换,解决内网用户用同一个公网地址上网的问题。
- MASQUERADE:是SNAT的一种特殊形式,适用于动态的、临时会变的ip上。
- DNAT:目标地址转换。
- REDIRECT:在本机做端口映射。
- LOG:在/var/log/messages文件中记录日志信息,然后将数据包传递给下一条规则,也就是说除了记录以外不对数据包做任何其他操作,依旧让下一条规则去匹配。
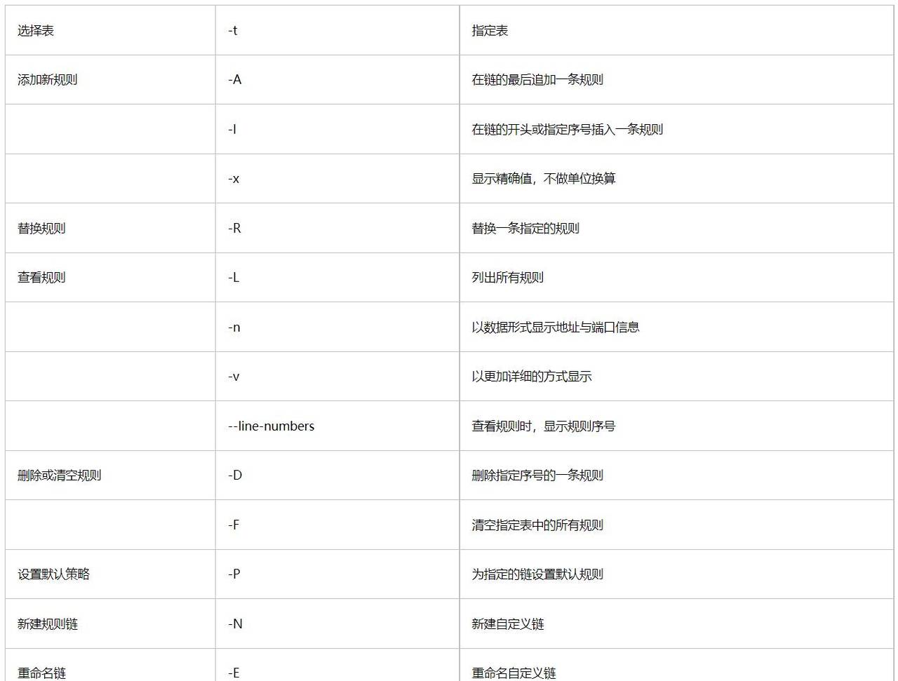
五、 iptables常用参数详解

© 版权声明
文章版权归作者所有,未经允许请勿转载。




这个不是淘汰了么现在?
收藏了,感谢分享